您好:这款游戏可以开挂,确实是有挂的,很多玩家在这款游戏中打牌都会发现很多用户的牌特别好,总是好牌,而且好像能看到-人的牌一样。所以很多小伙伴就怀疑这...
2025-10-14 0
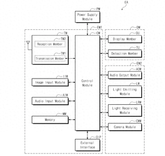
IT之家 10 月 14 日消息,据科技媒体 SmartPix 今天报道,三星最近向美国专利与商标局(USPTO)提交了一项申请,显示其正在研发折叠屏手机内屏划痕修复技术。
这项专利的编号是 US 12437686 B2,根据文件描述可以得知其整体概念归功于新型的裂纹检测线路,可识别并修复折叠屏手机内部的微观应力和裂痕,简单来说,就是折叠屏的内屏面板下方布满了“神经元”类似物,能自动感知并修复屏幕出现的裂纹。
这套系统内部拥有感应回路,围绕屏下指纹传感器或前摄镜头布设,当系统检测到应力或裂纹时会自行启动防御机制,通过“伪金属图案”(IT之家注:Dummy Metal Patterns)封住裂纹,防止其扩散。
同时根据文件描述,这种持续检测-修复的流程可以让折叠屏手机内屏在日常开合中不断自我修复,配合铰链区域周围的 UTG 材料和增加防潮层,大幅提升耐用性。
SmartPix 对此表示,UTG 材料也暗示着三星可能会在未来折叠屏机型上取消侧边指纹,转为使用屏下指纹识别,不过三星每年都会注册数以千计的专利,这种技术最终也有可能没有结果。
相关文章
您好:这款游戏可以开挂,确实是有挂的,很多玩家在这款游戏中打牌都会发现很多用户的牌特别好,总是好牌,而且好像能看到-人的牌一样。所以很多小伙伴就怀疑这...
2025-10-14 0
国内首个覆盖全产业链环节的低空装备机载系统选型平台——中国航空工业集团低空装备机载选型中心,日前在闵行区金领谷产业园投入运营。该中心创新打造“机载系统...
2025-10-14 0
IT之家 10 月 14 日消息,据科技媒体 SmartPix 今天报道,三星最近向美国专利与商标局(USPTO)提交了一项申请,显示其正在研发折叠屏...
2025-10-14 0
信息来源:https://interestingengineering.com/innovation/ehang-vt35-pilotless-ele...
2025-10-14 0
您好:这款游戏可以开挂,确实是有挂的,很多玩家在这款游戏中打牌都会发现很多用户的牌特别好,总是好牌,而且好像能看到-人的牌一样。所以很多小伙伴就怀疑这...
2025-10-14 0
【无需打开直接搜索微信;-】 操作使用教程: 1.亲,实际上微乐湖北麻将万能开挂器是可以开挂的,确实有挂.2.在"设置D...
2025-10-14 0
您好:这款游戏可以开挂,确实是有挂的,很多玩家在这款游戏中打牌都会发现很多用户的牌特别好,总是好牌,而且好像能看到-人的牌一样。所以很多小伙伴就怀疑这...
2025-10-14 0
发表评论